Установка Mac Pro в стойку
Важно! Прежде чем устанавливать Mac Pro в стойку, прочитайте инструкции по безопасности в разделе Важная информация по безопасности Mac. Также можно просмотреть технические спецификации. Откройте «Системные настройки», затем выберите «Справка» > «Спецификации Mac Pro».
Mac Pro и рельсы в сборе можно устанавливать в стандартную стойку любого из трех типов глубиной от 24 дюймов (60,96 см) до 42 дюймов (106,68 см). Рельсы предназначены для крепления в квадратных отверстиях, но после снятия крышек с отверстий рельсы можно также закрепить в круглых отверстиях. Чтобы установить рельсы в стойки с резьбой, снимите винты с рельс, затем снова завинтите их для закрепления рельс в стойке. Для этого требуются стандартный шестигранный ключ диаметром 1/8 дюйма (3 мм) и ключ диаметром 1/4 дюйма (6 мм). Примеры различных типов стоек приведены ниже.
Примечание. Эти инструкции предназначены для рабочей станции Mac Pro с чипом Apple, устанавливаемой в стойку. Если у Вас рабочая станция Mac Pro с процессором Intel, устанавливаемая в стойку, см. раздел Установка Mac Pro в стойку.
Стойка с квадратными отверстиями

Стойка с круглыми отверстиями

Стойка с резьбовыми отверстиями

Для установки Mac Pro необходимо прикрепить рельсы в сборе к Mac Pro и к стойке. (Глубина стойки должна составлять не менее 24 дюймов.)
Примечание. Для Mac Pro требуется 5 стойко-мест (5U). Два верхних стойко-места должны оставаться пустыми. Рельсы в сборе следует устанавливать в следующие два стойко-места. Нижнее стойко-место под рельсами в сборе должно также оставаться пустым.

Воздух для охлаждения Mac Pro движется от передней части корпуса к задней. Убедитесь, что все отверстия спереди и сзади корпуса не заблокированы.

Раздвиньте первую еще не установленную рельсу в сборе (левую или правую).

Вставьте задние опоры для рельсы в заднюю часть стойки, затем надавите на переднюю часть рельсы в сборе, чтобы вставить ее в стойку.
Рельса должна установиться в стойку, а рельса в сборе — встать на свое место. Если этого не происходит, возможно, рельса зафиксировалась в раздвинутом положении. В этом случае потяните оранжевый рычаг на рельсе, чтобы освободить ее.


Выдвиньте внутреннюю рельсу до упора.

Сдвиньте защелку, чтобы открепить внутреннюю рельсу от сборной части.

Повторите шаги 1–3 для второй рельсы в сборе.
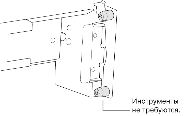
Прикрепите внутренние рельсы к боковым сторонам Mac Pro, убедившись, что защелки направлены к передней стороне компьютера, а монтажные отверстия рельс точно прилегают к выступам для рельс на Mac Pro.

Выдвиньте рельсу вперед, чтобы закрепить пружинный фиксатор на переднем выступе.

Выдвиньте рельсы, расположенные посередине стойки.
Поднимайте компьютер вдвоем.

Совместите рельсы, прикрепленные к Mac Pro, с рельсами посередине стойки, затем вставьте компьютер в стойку.
